Патент на корисну модель № 126336 Пристрій для добування біогазу

Loading...
Thumbnail Image
Date
2018
Authors
Піщаленко, Марина Анатоліївна
Коваленко, Нінель Павлівна
Галич, Олександр Анатолійович
Прасолов, Євген Якович
Journal Title
Journal ISSN
Volume Title
Publisher
Міністерство економічного розвитку і торгівлі України
Abstract
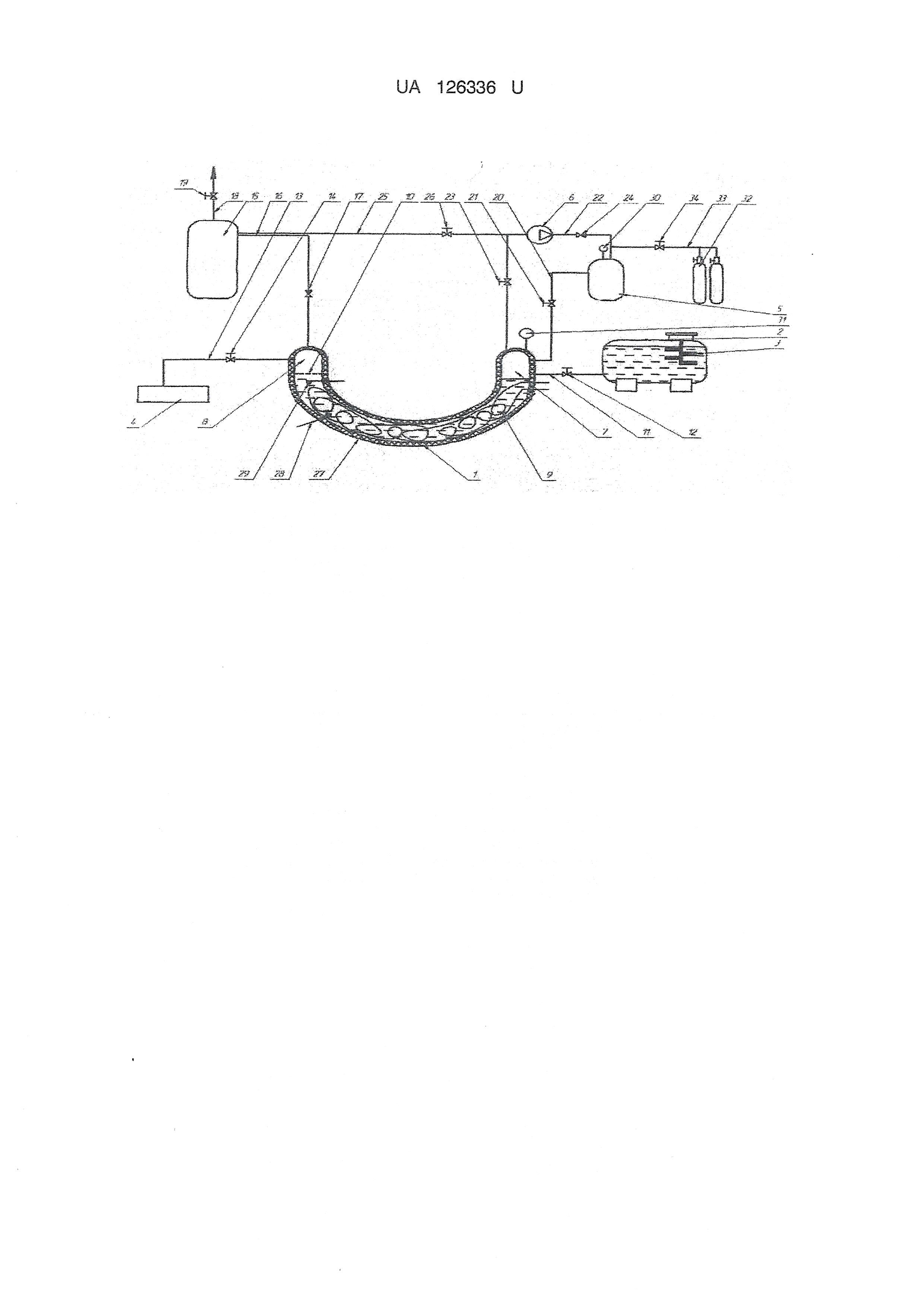
Технічне рішення за корисною моделлю, що заявляється, належить до сільського господарства, зокрема до пристроїв для анаеробного збродження органічних відходів з метою добування метанового газу і вкиорситання його в побуті, а відходи збродження як орагнічне добриво в землеробстві.
Description
Задачею технічного рішення за корисною моделлю - створити пристрій спрощеної конструкції, надійної і простої в експлуатації високоефективним і стабільним процесом анаеробного збродження органічних відходів з отриманням біогазу і органічних добрив протягом року.
Keywords
Пристрій, Біогаз, Відходи, Рециркуляція, Метан, Ресивер
Citation